Home
Download PDF
Order CD-ROM
Order in Print
Section 7. Electrical System
Injection Pump Fuel Shutoff Valve
TM-10-3950-672-24-2 Warehouse Crane 10 000 lb. Capacity M469 Wheeled Diesel Powered Manual
Page Navigation
144
145
146
147
148
149
150
151
152
153
154
TM10-3950-672-24-2
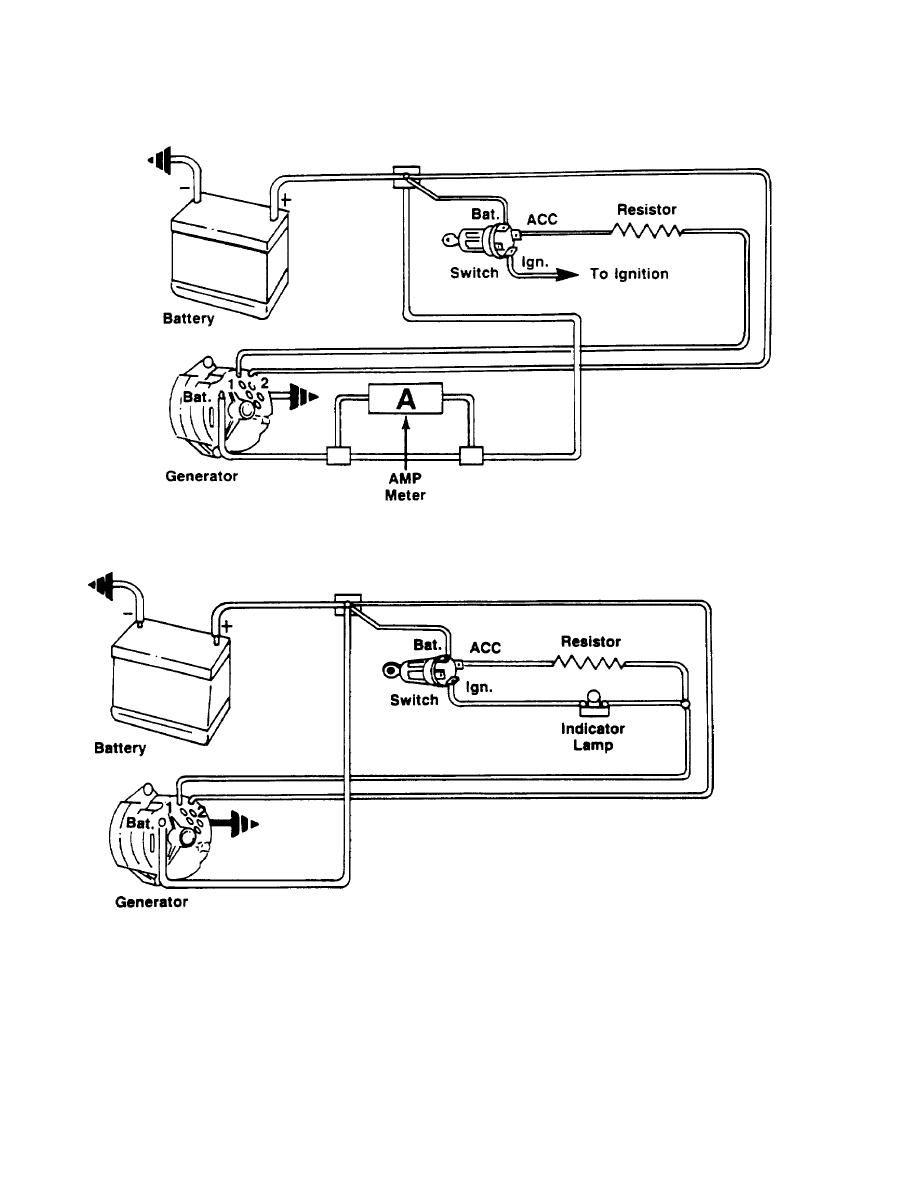
Prestolite
Model
8AR2201L
Alternator
Typical
External
Circuit
5-144