TM 10-3950-672-24-2
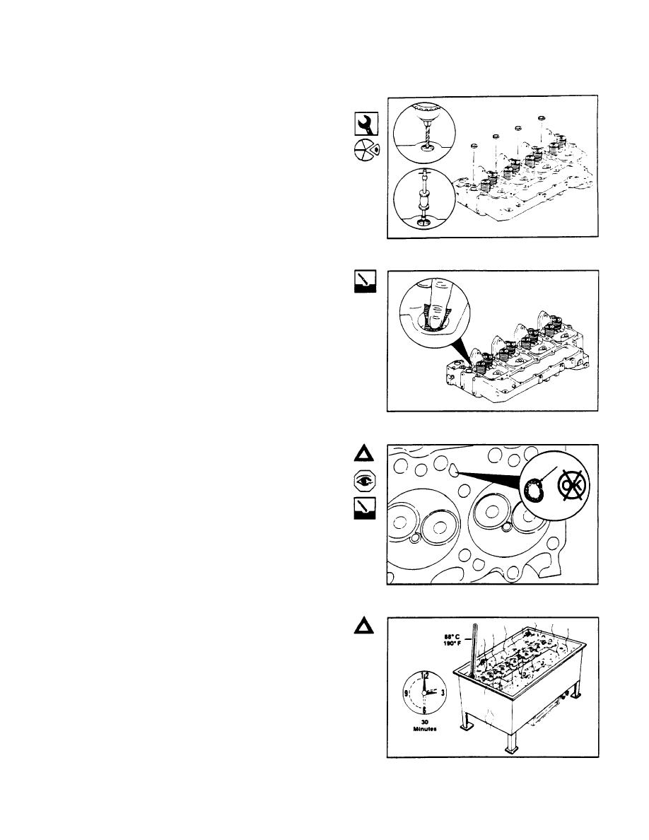
Cup Plug Replacement
Drill Motor, 3 mm [1/8 inch] drill bit, slide hammer, #10
metal screw.
Remove the cup plugs from the cylinder head.
400 grit sandpaper, Diesel Fuel
Thoroughly clean the cup plug holes.
Caution: Use protective clothing to prevent
personal injury.
Inspect for build-up of deposits in the coolant passages
which can cause engine overheating.
Be sure the coolant passages are clean.
Excessive deposits may be cleaned in an acid tank, but
the cylinder head must be disassembled first.
Caution: Use protective clothing to prevent
personal injury.
The cylinder head may be cleaned in a hot tank using a
soap and water solution.
5-257