TM 10-3950-672-24-2
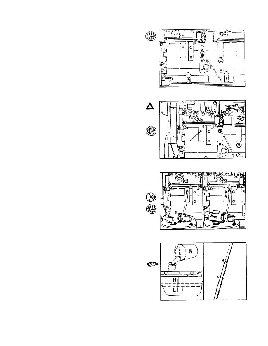
Attach the lubricating oil pressure sensor to the main oil
Minimum Gauge Capacity:
1034 kPa [150 psi]
Caution: The lubricating oil system must be primed
before operating the engine after it has been rebuilt
to avoid Internal damage. Do not prime the system
from the bypass filter head If an external pressure
pump is used. Damage to the bypass filter will
result.
To prime the system using external pressure, connect
the supply to the tapped hole in the main oil rifle.
Use a pump capable of supplying 210 kPa (30 psi]
continuous pressure. Connect the pump to the port on
the main oil rifle as shown.
Use clean 15W-40 oil to prime the system until the oil
pressure registers on the gauge.
Remove the oil supply tube, and install the plug.
Make sure the lubricating oil has had time to drain to the
pan, and fill the engine to the high mark as measured on
the dipstick.
5-323